Product Summary
The 2SC1815-GR is a NPN Silicon Epitaxial Transistor Designed for RF, AF Amplifier and General Purpose Applications.
Parametrics
Off characteristics: (1)V(BR)CEO, Collector-Emitter Breakdown Voltage(IC=0.1mAdc, IB=0): 50 Vdc min; (2)V(BR)CBO Collector-Base Breakdown Voltage(IC=100uAdc, IE=0): 60 Vdc min; (3)VBEF Emitter-Base Voltage(IE=310mAdc): 1.45 Vdc min; (4)ICBO Collector Cutoff Current(VCB=60Vdc, IE=0Adc): 0.1 uAdc max; (5)ICEO Collector Cutoff Current(VCB=50Vdc, IE=0Adc): 0.1 uAdc max; (6)IEBO Emitter Cutoff Current(VEB=5.0Vdc, IC=0Adc): 0.1 uAdc max.
Features
Features: (1)2SC1815 is NPN Silicon Epitaxial Transistor Designed for RF, AF Amplifier and General Purpose Applications; (2)Capable of 0.4Watts of Power Dissipation; (3)Collector-current 0.15A; (4)Collector-base Voltage 60V; (5)Marking : C1815; (6)Case Material: Molded Plastic. UL Flammability Classification Rating 94V-0 and MSL rating 1; (7)Lead Free Finish/Rohs Compliant ("P"Suffix designates Compliant. See ordering information).
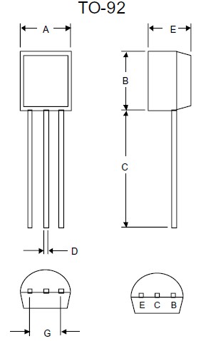
Diagrams

| Image | Part No | Mfg | Description | ![]() |
Pricing (USD) |
Quantity | ||||||||||||
|---|---|---|---|---|---|---|---|---|---|---|---|---|---|---|---|---|---|---|
![]() |
![]() 2SC1815-GR(TPE2,F) |
![]() Toshiba |
![]() Transistors Bipolar (BJT) 50V NPN 150mA Bipolar Trans 60V |
![]() Data Sheet |
![]()
|
|
||||||||||||
| Image | Part No | Mfg | Description | ![]() |
Pricing (USD) |
Quantity | ||||||||||||
![]() |
![]() 2SC1004 |
![]() Other |
![]() |
![]() Data Sheet |
![]() Negotiable |
|
||||||||||||
![]() |
![]() 2SC1008 |
![]() Other |
![]() |
![]() Data Sheet |
![]() Negotiable |
|
||||||||||||
![]() |
![]() 2SC1027 |
![]() Other |
![]() |
![]() Data Sheet |
![]() Negotiable |
|
||||||||||||
![]() |
![]() 2SC1030 |
![]() Other |
![]() |
![]() Data Sheet |
![]() Negotiable |
|
||||||||||||
![]() |
![]() 2SC1034 |
![]() Other |
![]() |
![]() Data Sheet |
![]() Negotiable |
|
||||||||||||
![]() |
![]() 2SC1046 |
![]() Other |
![]() |
![]() Data Sheet |
![]() Negotiable |
|
||||||||||||
(Hong Kong)







